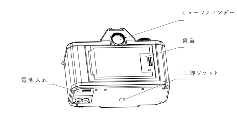
instax mini対応のレンズ交換式インスタントカメラ「NONS SL42」(6/6)

    もっと見る
      もっと見る
        もっと見る
          もっと見る
          • 前の画像

          • (6/6)
          • 記事へ

          • 前の画像

          • (6/6)
          • 記事へ

          関連記事

          • ニュース

            チェキスクエア対応のレンズ交換式インスタントカメラ「NONS SL660」。一眼レフ方式

            2022年10月7日

          • ニュース

            "写真の腕を磨けるトランプ"がクラウドファンディングで支援受付中

            2021年3月19日

          • ニュース

            セブンシーズ・パスタ、YASHICAブランドのフィルムカメラ「MF-2 Super」を一般発売

            2021年1月18日

          • レビュー・使いこなしレンズマウント物語

            (第4話):M42の踏ん張り

            2012年8月1日

          • ニュース

            富士フイルム、価格を抑えたスクエア機「instax SQUARE SQ1」

            2020年10月28日

          • ニュース

            富士フイルム、チェキの新エントリー機「instax mini 11」

            2020年2月26日

          • ニュース

            富士フイルム、スマホの写真をチェキプリントする「instax mini Link」

            2019年10月2日

          • ニュース

            ユリシーズの新作カメラバッグ座談会レポート

            2014年12月18日

          • 本サイトのご利用について
          • お問い合わせ
          • 広告掲載のご案内
          • プライバシーポリシー
          • 会社概要
          • インプレスグループ
          • 特定商取引法に基づく表示

          Copyright ©2018Impress Corporation. All rights reserved.