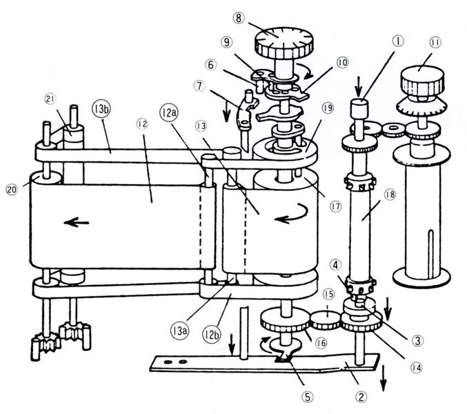
図1:バルナックライカのドラム型フォーカルプレンシャッターの原理図。カメラ背面から見たところ。シャッターダイヤル(8)はシャッター先幕(12)の軸(19)に直結しており、先幕走行とともに回転して露出時間を制御する。チャージやレリーズボタン(1)との関連からフィルム巻き上げノブ(11)と画面枠の間の位置となる。(金野剛志「カメラメカニズム教室(上)」朝日ソノラマ刊より)

図1:バルナックライカのドラム型フォーカルプレンシャッターの原理図。カメラ背面から見たところ。シャッターダイヤル(8)はシャッター先幕(12)の軸(19)に直結しており、先幕走行とともに回転して露出時間を制御する。チャージやレリーズボタン(1)との関連からフィルム巻き上げノブ(11)と画面枠の間の位置となる。(金野剛志「カメラメカニズム教室(上)」朝日ソノラマ刊より)